
יצרנית המכוניות ‘סובארו‘, ששייכת ברובה לתאגיד פוג’י שמייצר גם מטוסים, קיבלה לאחרונה הגנת פטנט ממשרד הפטנטים האמריקני לכלי תחבורה שהיא מכנה “רכב יבשתי ואווירי”, אבל לפי הציורים שמצורפים אליו נראה כמו הכלאה מוזרה בין אופנוע לרחפן.

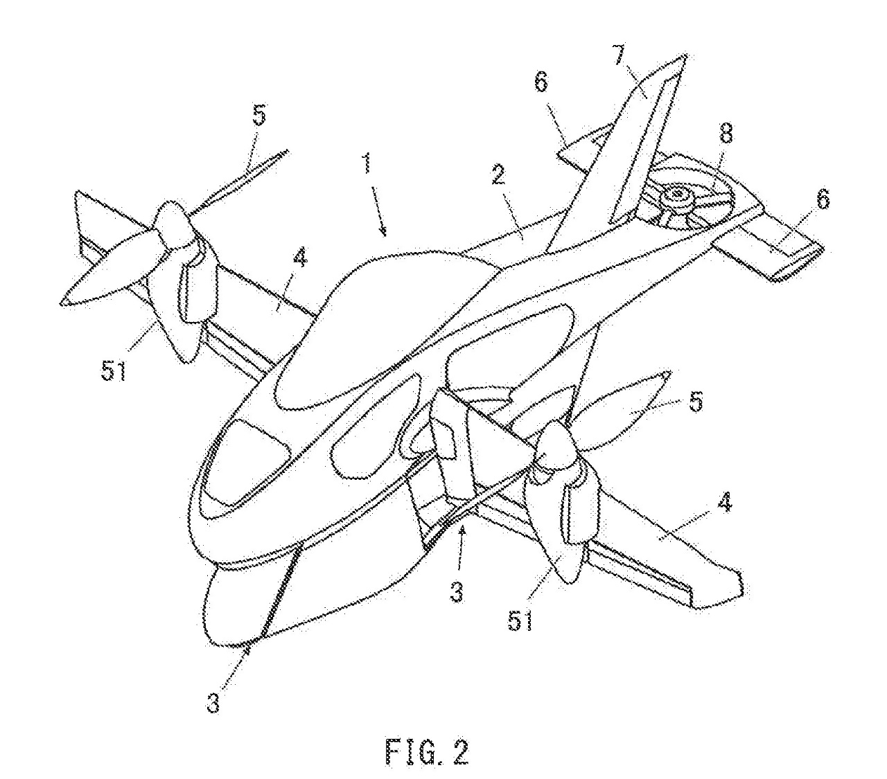
במצב “יבשתי” מקופלות הכנפיים של הכלי הזה משני צדדיו, לא משהו שעושה יותר מידי שכל כשמדובר באופנוע, אבל כאשר מתחשק לעוף פשוט “פורשים כנפיים” והמדחפים שמותקנים עליהם עוברים למצב המראה ומאפשרים לכלי המוזר הזה להמריא אנכית כמו כל רחפן (או VTOL – כלי טיס ממריא ונוחת אנכית). במצב טיסה מופנים המנועים לפנים והכנפיים משמשות כדי להשיג עילוי נוסף.
עכשיו, ברור לנו שהתגובה האינסטינקטיבית והמוצדקת של כל מי שקורא את זה היא “נו, לא נמאס לכם מה-1 באפריל?”, אבל אנחנו רק מביאים כאן את מה שמפורסם ברשם הפטנטים האמריקני, בתקווה שאנשיו לא חמדו לצון דווקא ב-4 במרץ (בקשת הפטנט עצמה, אגב, הוגשה ביפן ומתוארכת לאוגוסט 2019). אגב, סובארו הגישה שתי בקשות פטנט נפרדות לקונספט של אופנוע-רחפן.
באחת מבקשות הפטנט מתואר כיצד הרכב מוסב בין מצב יבשתי למצב טיסה, עם מדחפים משני צדדיו שמופנים כלפי מעלה, ועם מדחף קבוע נוסף שמותקן בזנב. אם לא די בכך, במצב טיסה מבצע הכלי הזה סוג של “קיפול גלגלים” כאשר הם למעשה מכונסים פנימה אל תוך הגוף, וזאת כדי להפחית את הגרר.
במצב “אופנוע עם כנפיים מקופלות” מונע הכלי המשונה הזה באמצעות מנוע בנזין רגיל, אבל אותו מנוע משמש כגנרטור כאשר הכלי עובד למצב טיסה, ואז הוא מספק חשמל למנועים חשמליים שמסובבים את המדחפים.
ההטסה, אם כבר התחלת להסתקרן, מבוצעת באמצעות הכידון הרגיל של האופנוע, עם פטנט ספציפי שהופך את המצערת לכזאת ששולטת גם בעוצמת המנועים החשמליים: בנוסף לידית הבלם הקדמי וידית המצמד יש שתי ידיות אחרות, בשני קצות הכידון, כשהמנוף הימני שולט בעוצמת המנועים ואילו המנוף השמאלי שולט בזווית האף. השלב שבו כל העסק הזה הופך מופרך הוא השימוש, כביכול, ברגלית ההילוכים של האופנוע כדי לכוון את זווית האף ולחץ על הרגליות קובע את זויות הגלגול.

מי שהשקיע בכתיבת הפטנט הזה – בין אם הוא חומד לצון ובין אם זה צוות מהנדסים אמיתי של סובארו, השקיע הרבה עבודה בתיאור האופנוע המעופף הזה ואפילו מתאר מצב “טייס אוטומטי”, לכן אפשר לסכם את זה ככה: לנו לא כל כך מובן מה דחוף להכביד על אופנוע ולהפוך אותו לרחפן, אבל נשמח להטיס כל כלי טיס אישי שסובארו תבנה, אם וכאשר.
אגב, אזרחים ותיקים יזכרו אולי שבשנות ה-60 וה-70 סובארו ייצרה את אחד הקטנועים הראשונים בעולם, “רביט” שמו, אולפ ניא נטשה את התחום והתמקדה בייצור מכוניות שנים לא מעטות לפני שיצרניות האופנועים האחרות הבינו את היתרונות של חיפוי הגוף של כלי דו-גלגלי.
The post סובארו הגישה בקשת פטנט לאופנוע רחפן first appeared on TheDoo.












